PA视讯官方集团

行业动态

了解最新公司动态及行业资讯

土壤修复搅拌装置

2017-10-10 02:20:51 294 编辑:admin 来源:本站
    近些年来随着经济的快速发展和人口的不断增长,污染物的排放量也在不断的增加,使得土壤污染不断加剧。而在现有技术中对于污染土壤进行修复一般主要是靠化学淋洗,化学淋洗主要是通过促进土壤环境中污染物溶解或迁移作用的溶剂,通过水力压头推动淋洗液,将其注入到被污染土层中,然后再把包含污染物的液体从土层中导出抽取并处理。对于现有的化学淋洗液需要向下渗透,渗透受土质的影响,从而导致下渗速度较慢,修复周期较长,而且淋洗液下渗很容易扩散到未受污染的场地,造成二次环境污染,而需要相应的配套设施,则会增加设备投资,投资量大,同时对于淋洗液的回收效率低,从而造成了浪费。针对现有淋洗土壤修复技术存在的花费周期长,自动化水平低,回收淋洗液低等问题,有需要提供一种新的技术方案。
    针对现有技术的不足,土壤修复公司郑州PA视讯官方集团环境提供了一种回收淋洗液效率高、自动化水平高、所花费修复周期短的土壤修复搅拌装置。
    1、土壤修复搅拌装置技术方案是 :
    一种修复土壤搅拌设备,包括搅拌桶体和搅拌轴,所述搅拌桶体下部设有沉淀桶体,搅拌桶体和沉淀桶体内壁上安装有温度加热器和温度感温装置,温度感温装置与外部的显示屏连接,温度加热器与显示屏上开关连接,通过外部的显示屏能够很好的了解搅拌桶体内部的温度,从而方便人们控制温度,搅拌桶体顶端设有进料口、注水口、淋洗液进口和电机,电机与内部的搅拌轴相连接,搅拌轴从上往下间隔均匀设有搅拌叶轮,搅拌叶轮上设有搅拌孔,沉淀桶体底部为倒梯形,倒梯形的沉淀桶体底部中间位置开有出料口,出料口对应连接有管道,管道连接到压滤机,压滤机通过连接管道将淋洗液回收到淋洗液桶中,压滤机通过传送带将处理过的污染土壤输送到集泥池或运输车中,淋洗液桶与压滤机之间设有淋洗液净化柱,淋洗液净化柱内部设有依次连接用于吸收重金属离子的离子交换柱、活性炭柱和杀菌材料净化柱,将淋洗过的土壤经过直接传送到压滤机,经过压滤机回收清洗过的淋洗液,将收集到的淋洗液会回到淋洗液桶中,使得回收的效率高,有利的避免了浪费,同时经过压滤机的土壤通过传送带输送到集泥池或运输车中,能够将修复好的泥土回填,减少了修复周期,淋洗液桶通过软管连接到淋洗液进口,淋洗液进口与搅拌轴内腔相连通,搅拌轴内腔与搅拌叶轮上的搅拌孔相连通,能够将回收到淋洗液重复使用,节约了资源,避免了浪费,注水口上安装有通过水管道连接有水箱,通过水管道将水注入到搅拌桶体中,有利于加快淋洗液的淋洗速度。
    所述搅拌桶体和沉淀桶体为一体式结构,方便将经过淋洗的土壤传送到下一步处理,方便了操作。
    所述淋洗液桶与搅拌桶体的软管上安装有泵体,方便通过泵体能够对输进的淋洗液进行有效的控制。
    所述在注水口的水管道头部安装有雾化喷水口,方便有利于将水更好的注入到搅拌桶体中,方便污染土壤的淋洗,加快污染土壤的修复。
    所述水管道上设有水泵,通过水泵能够对注入水进行有效的控制。
    2、土壤修复搅拌装置的有益效果 :
    该实用新型在搅拌桶中设有搅拌机构,有利于污染土壤的修复,并且搅拌机构上设有淋洗液孔,用于淋洗液的流出,更好的方便淋洗液与污染土壤充分接触,从而达到缩短修复周期性的目的 ;在沉淀桶体的底部设有出料口,出料口与压滤机连通,通过压滤机一方面能够将淋洗过中土壤淋洗液高效的回收,提高了回收效率,另一方面也通过压滤机将处理好的土壤输送到集泥池或运输车中,提高自动化水平,也减少了花费的时间 ;回收的淋洗液通过淋洗液净化柱,使得回收的淋洗液更加纯净。
    3、土壤修复搅拌装置附图说明
  土壤修复搅拌装置
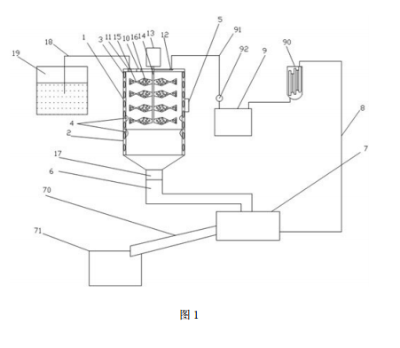
    图 1 为本实用新型的示意图。
    4、土壤修复搅拌装置具体实施方式
    如图 1 所示,一种修复土壤搅拌设备,包括搅拌桶体 1 和搅拌轴 13,所述搅拌桶体1 下部设有沉淀桶体 2,搅拌桶体 1 和沉淀桶体 2 内壁上安装有温度加热器 3 和温度感温装置 4,温度感温装置 4 与外部的显示屏连接 5,温度加热器 3 与显示屏 5 上开关连接,通过外部的显示屏 5 能够很好的了解搅拌桶体 1 内部的温度,从而方便人们控制温度,搅拌桶体 1顶端设有进料口 10、注水口 11、淋洗液进口 12 和电机 13,电机 13 与内部的搅拌轴 14 相连接,搅拌轴 14 从上往下间隔均匀设有搅拌叶轮 15,搅拌叶轮 15 上设有搅拌孔 16,沉淀桶体1 底部为倒梯形,倒梯形的沉淀桶体 1 底部中间位置开有出料口 17,出料口 17 对应连接有管道 6,管道 6 连接到压滤机 7,压滤机 7 通过连接管道 8 将淋洗液回收到淋洗液桶 9 中,压滤机 7 通过传送带 70 将处理过的污染土壤输送到集泥池 71 或运输车中,淋洗液桶 9 与压滤机7之间设有淋洗液净化柱90,淋洗液净化柱90内部设有依次连接用于吸收重金属离子的离子交换柱、活性炭柱和杀菌材料净化柱,将淋洗过的土壤经过直接传送到压滤机 7,经过压滤机 7 回收清洗过的淋洗液,将收集到的淋洗液会回到淋洗液桶 9 中,使得回收的效率高,有利的避免了浪费,同时经过压滤机 7 的土壤通过传送带 70 输送到集泥池 71 或运输车中,能够将修复好的泥土回填,减少了修复周期,淋洗液桶 9 通过软管 91 连接到淋洗液进口12,淋洗液进口 12 与搅拌轴 14 内腔相连通,搅拌轴 14 内腔与搅拌叶轮 15 上的搅拌孔 16相连通,能够将回收到淋洗液重复使用,节约了资源,避免了浪费,注水口 11 上安装有通过水管道 18 连接有水箱 19,通过水管道 18 将水注入到搅拌桶体 1 中,有利于加快淋洗液的淋洗速度,所述搅拌桶体 1 和沉淀桶体 2 为一体式结构,方便将经过淋洗的土壤传送到下一步处理,方便了操作,所述淋洗液桶 9 与搅拌桶体 1 的软管 91 上安装有泵体 92,方便通过泵体92 能够对输进的淋洗液进行有效的控制,所述在注水口 11 的水管道 18 头部安装有雾化喷水口,方便有利于将水更好的注入到搅拌桶体 1 中,方便污染土壤的淋洗,加快污染土壤的修复,所述水管道 18 上设有水泵,通过水泵能够对注入水进行有效的控制。
    5、土壤修复搅拌装置的有益效果 :
    该实用新型在搅拌桶中设有搅拌机构,有利于污染土壤的修复,并且搅拌机构上设有淋洗液孔,用于淋洗液的流出,更好的方便淋洗液与污染土壤充分接触,从而达到缩短修复周期性的目的 ;在沉淀桶体的底部设有出料口,出料口与压滤机连通,通过压滤机一方面能够将淋洗过中土壤淋洗液高效的回收,提高了回收效率,另一方面也通过压滤机将处理好的土壤输送到集泥池或运输车中,提高自动化水平,也减少了花费的时间 ;回收的淋洗液通过淋洗液净化柱,使得回收的淋洗液更加纯净。

30

装备制造经验

立即免费获取土壤修复方案

为用户提供及时、高效、便捷的服务

在线咨询
PA视讯官方集团环境希望与你携手,共创美好未来...
5