PA视讯官方集团

行业动态

了解最新公司动态及行业资讯

生物泥浆土壤修复的方法

2018-04-08 08:43:16 333 编辑:admin 来源:本站
        多溴联苯醚的英文名为 Poly Brominated Diphenyl Ethers(简称 PBDEs),有四 溴联苯醚、五溴、六溴、八溴、十溴等 209 种同系物。其商品多溴联苯醚是一组溴原子数不同 的联苯醚混合物,因此被总称为多溴联苯醚。多溴联苯醚 (PBDEs) 是一类全球性的有机污 染物,由于其持久性、毒性和潜在的生物蓄积性而备受关注,多溴联苯醚是一类环境中广泛 存在的全球性有机污染物。由于其具有环境持久性,远距离传输,生物可累积性及对生物和 人体具有毒害效应等特性,对其环境问题的研究已成为当前环境科学的一大热点。 
 
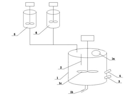
       生物泥浆土壤修复方法及专用设备,属于环境保护技术领域。其特征在于包括以下步骤:1)将多溴联苯醚污染土壤和水混合加入生物反应器中,加入无机盐营养物质和微量元素,在反应同时接种真菌和细菌,接种量为5%?15%;在温度为25?30°C,通气量为0.002?0.008m3/s条件下,将反应器的搅拌桨转速控制在110?150rpm;2)通过实验先测定污染土壤中多溴联苯醚污染的溴代数量,再对真菌与细菌的接种比例进行调整,提高降解效果,缩短降解时间。上述一种多溴联苯醚污染土壤的生物泥浆修复方法,操作简单,去除多溴联苯醚的能力强,修复效果好。

30

装备制造经验

立即免费获取土壤修复方案

为用户提供及时、高效、便捷的服务

在线咨询
PA视讯官方集团环境希望与你携手,共创美好未来...
5