PA视讯官方集团

行业动态

了解最新公司动态及行业资讯

土壤修复设备的发展历程

2018-04-28 01:29:22 344 编辑:admin 来源:本站
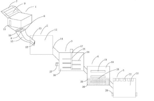
        土壤本来是各类废弃物的天然收容所和净化处理场所,当土壤中收容的各类污染物过多,影响和超过了土壤的自净能力,土壤自身也需要进行土壤修复。造成土壤污染的原因很多,如工业污泥,垃圾农田,污水灌溉,大气中污染物沉降,大量使用含重金属的矿质化肥和农药等等,土壤污染日益严重。目前没有一个完整的土壤修复设备,都是单独的对其中一个环节进行修复,造成土壤修复不到位,或需要再找设备进行修复,费时,费力。修复效率低。
土壤修复设备
 
       于是一种污染土壤修复设备诞生了,属于土壤修复设备技术领域,解决现有技术中没有完整的一个修改土壤的设备,都是单独的对其中一个环节进行修复,造成土壤修复不到位,或需单独再找设备进行修复,造成费时,费力,修复效率低的问题。本实用新型包括入料箱,与入料箱相连接的修复液箱,与修复液箱相连接的清洗箱,与清洗箱相连接的烘干箱,与烘干箱相连接的营养液箱。本实用新型用于污染土壤的修复。

30

装备制造经验

立即免费获取土壤修复方案

为用户提供及时、高效、便捷的服务

在线咨询
PA视讯官方集团环境希望与你携手,共创美好未来...
5