PA视讯官方集团

行业动态

了解最新公司动态及行业资讯

土壤破碎筛网进化的由来

2018-06-05 02:11:31 383 编辑:admin 来源:本站
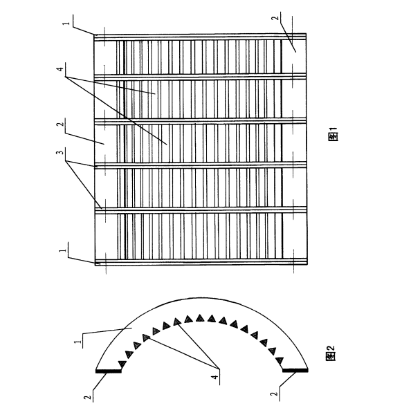
       现有的土壤破碎机筛网一般包括有由一对横向的侧板和一度纵向的连接板构成的框架,在两侧板之间连接有多条纵向的栅条,这种结构的筛网在使用的过程中如果有一根栅条损坏就必须将整个框架拆卸下来进行更换,因此其维护起来相当的不便,我们提供了一种拆装维护极其方便,对土壤具有辅助破碎能力的土壤破碎机筛网,它大大解决了上述所出现的问题。
土壤破碎筛网
      属于工程机械,涉及土壤破碎机,具体是一种土壤破碎机筛网。它包括有由一对横向的侧板和一对纵向的连接板构成的框架,在两侧板之间横向并排设置有多对栅条固定梁,每一对栅条固定梁之间固定安装有多条相互平行的短栅条,相邻的栅条固定梁之间通过螺栓固定连接,而最外侧的两个栅条固定梁则分别通过螺栓与两个侧板连接。本实用新型拆装维护方便、对土壤具有辅助破碎能力。

30

装备制造经验

立即免费获取土壤修复方案

为用户提供及时、高效、便捷的服务

在线咨询
PA视讯官方集团环境希望与你携手,共创美好未来...
5