PA视讯官方集团

行业动态

了解最新公司动态及行业资讯

强力土壤破碎修复装置都能避免哪些不足

2018-06-11 01:47:56 359 编辑:admin 来源:本站
     随着工业化进程的加快,大量污染物通过各种来源向土壤积累,特别是城市产业结构调整和空间布局的变化,大量工业场地的改变用途进行开发利用。由此带来严重的工业产地污染问题。目前,国内实施土壤修复工程,无法有效处理此类问题工作效率也非常低下。所以我们提供了一种强力的土壤破碎修复装置,能够将大块粘结性土壤打碎同时混合搅拌,便于出料并使药剂能够与土壤充分接触反应。
土壤破碎
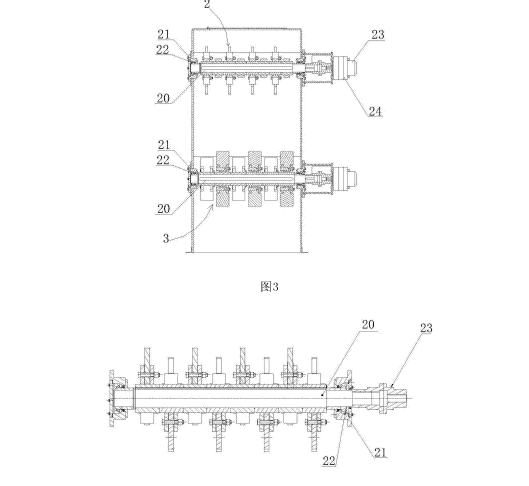
     用于土壤破碎的强力修复装置,包括箱体,所述箱体的侧面设有进料口,箱体的底部为出料口,箱体的两个侧板之间由上至下安装4根转轴,所述箱体的两个侧板上分别安装有轴承座,所述转轴的两端通过轴承安装在轴承座上,所述转轴的一端伸出侧板并通过联轴器连接液压马达,最上端的转轴上安装有旋切刀组件,其余的转轴上安装有滚子锤组件。本实用新型通过旋切刀组件和滚子锤组件的共同作用,有效的将粘结成大块的土壤进行强力粉碎和搅拌,使土壤与药水混合均匀,避免了土壤粘结在设备上,提高了土壤修复的工作效率。
 
 

30

装备制造经验

立即免费获取土壤修复方案

为用户提供及时、高效、便捷的服务

在线咨询
PA视讯官方集团环境希望与你携手,共创美好未来...
5