PA视讯官方集团

行业动态

了解最新公司动态及行业资讯

土壤热脱附无害化处理污油泥系统及其处理方法

2018-09-21 00:41:08 374 编辑:admin 来源:本站
       目前,由于油田开发、石油炼制过程、运输、使用、贮存以及含油污水处理等一系列 过程中都会产生含油污泥,含油污泥堆放或填埋占用大量耕地的同时污染周边环境,所产 生的有毒物质会随动植物吸收富集、食物链传递而最终危害人类健康。同时,污油泥中含油 量较高,是废物中的宝贵资源,如果不进行回收,会造成较大的资源浪费。目前,按照国家环 保要求,油田污油泥处理后残渣必须达到石油烃总量≤0 .3%,灰渣浸出液检测无有毒有害 物质及重金属,符合《农用污泥中污染物控制标准》(GB4284-84)中有关规定;单一的采用如 热化学处理、溶剂处理、离心法处理工艺已不能达到其标准要求。 
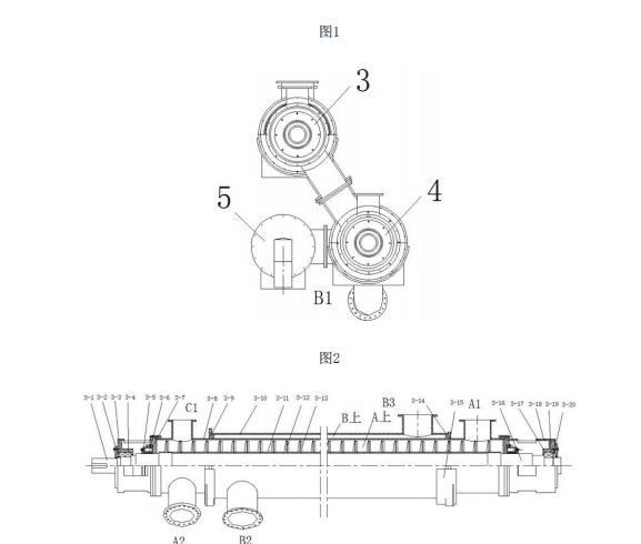
     土壤热脱附技术是处理污油泥的有效技术之一,该技术是通过热脱附装置直接或间接 加热,将污油泥进行热分解处理,使得油泥中水份蒸发,有机物发生热解,挥发成气态的热 脱附气,并将热解气进行冷凝、收集,热脱附不凝气经处理回燃,处理后的灰渣可综合利用。 目前,已有采用热脱附技术对污油泥进行处理,但存在加热炉体分布不合理,热效 率不高,设备复杂,体积庞大,运行成本高,处理规模较小,不便于运输和安装,污油泥存在 二次污染等缺点。 
    一种土壤热脱附无害化处理污油泥系统及其处理方法,该系统能够在负压、绝氧条件下,对含油污泥进行间接加热处理,提高污油泥热脱附效率30%以上,并且便于运输和快速安装。
  PA视讯官方集团环境科技有限公司是一家以环境工程应用技术研发为核心、设备加工制造为辅助的高科技公司;公司提供土壤热脱附,土壤热解析,土壤修复设备系统化、专业化的技术解决方案与服务支持团队,帮助客户实现多元化环境改良需求。
 

30

装备制造经验

立即免费获取土壤修复方案

为用户提供及时、高效、便捷的服务

在线咨询
PA视讯官方集团环境希望与你携手,共创美好未来...
5