PA视讯官方集团

公司动态

了解最新公司动态及行业资讯

土壤修复中破碎筛分搅拌除大块一体化进料料斗

2017-10-10 02:03:22 375 编辑:admin 来源:本站
  在土壤场地修复的过程中,由于土壤块体的大小不一,一些大块的或者特大快的土壤块体不能透过格筛网上的筛孔,同时大块的或者特大快的土壤块体容易堵塞料斗中较小的出料口,对下部的输送机造成损坏,常常需要人工去除大块的或者特大快的土壤块体,这样通常需要人工去除,影响料斗的下料速度,从而影响整个土壤场地的修复效率。
  针对现有技术中的缺陷,土壤破碎筛分铲斗厂家郑州PA视讯官方集团提供了一种土壤修复中破碎筛分搅拌除大块一体化进料料斗,能够在料斗内完成破碎、筛分、搅拌大块的或者特大快的土壤块体,解决了大块的或者特大快的土壤块体堵塞出料口,保证正常的下料速度,提高整个土壤场地的修复效率。
  1、本实用新型为解决上述问题所采取的技术方案是,
  提供了一种土壤修复中破碎筛分搅拌除大块一体化进料料斗,所述进料料斗从上到下依次划分为上层上料斗体、中层处理斗体、下层下料斗体三部分,其中中层处理斗体竖直设置,所述中层处理斗体上固定连接有格筛板,格筛板上设有多个格筛孔,所述中层处理斗体上转动连接有多个驱动轴,沿驱动轴的延伸方向设有多个旋转叶片,且旋转叶片位于格筛板的格筛孔内,所述每一个驱动轴均设有一个独立的驱动装置,所述上层上料斗体的侧壁上设有活动门,活动门的下端与上层上料斗体的侧壁铰接,活动门的上端与上层上料斗体之间设有锁扣。
  所述中层处理斗体上固定连接有轴承座,轴承座内设有轴承,驱动轴通过轴承与中层处理斗体转动连接。所述驱动装置为驱动电机。所述筛孔为圆形、矩形或菱形。
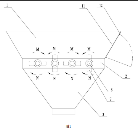
  2、附图说明
土壤破碎筛分进料斗的结构示意图土壤破碎筛分进料斗的结构示意图
  图1为土壤破碎筛分进料斗的结构示意图;
  图2为图1的右视图。
  3、本实用新型的有益效果:
  该进料斗体在外部动力(如电机 )的驱动下,能够在料斗内完成破碎、筛分、搅拌大块的或者特大快的土壤块体,解决了大块的或者特大快的土壤块体堵塞出料口,保证正常的下料速度,提高整个土壤场地的修复效率。
  4、具体实施方式
  如图1、图2所示,本实用新型提供了一种土壤修复中破碎筛分搅拌除大块一体化进料料斗,所述进料料斗从上到下依次划分为上层上料斗体1、中层处理斗体2、下层下料斗体3三部分,其中中层处理斗体2竖直设置,所述中层处理斗体2上固定连接有格筛板4,格筛板4上设有多个格筛孔5,格筛板4上设有多个整齐排列的格筛孔5,格筛孔5为圆形、矩形或菱形,且在实际的操作过程中格筛孔5可以根据物料的种类不同而设置成不同的尺寸,将该上料斗体用在其他的行业中大块物料的破碎、搅拌和筛分中。
  所述中层处理斗体2上转动连接有多个驱动轴6,通常情况下是通过在所述中层处理斗体2上固定连接有轴承座9,轴承座9内设有轴承10,驱动轴6通过轴承10与中层处理斗2体转动连接。沿驱动轴6的延伸方向设有多个旋转叶片7,且旋转叶片7位于格筛板4的格筛孔5内,所述每一个驱动轴6均设有一个独立的驱动装置8,驱动装置8通常为驱动电机,有些情况下驱动装置8也可以靠液压动力来驱动。所述上层上料斗体1的侧壁上设有活动门11,活动门11的下端与上层上料斗体1的侧壁铰接,活动门11的上端与上层上料斗体1之间设有锁扣12。
  使用时,在驱动装置8的驱动作用下,驱动轴6转动,带动旋转叶片7旋转,从上层上料斗体1中加入土壤块体,其中尺寸较小的土壤块体经格筛板4上的格筛孔5直接从下层下
  料斗体3排出,而较大块的土壤块体被格筛板4所阻挡,此时调节相邻的两根驱动轴6的转动方向,使它们做相向转动,在旋转叶片7的作用下,大块的土壤块体破碎、搅拌成为小块的土壤块体,最后由下层下料斗体3排出,从而完成大块土壤块体的破碎、搅拌、筛分工作。而特大块的土壤块体则停留在格筛板4的最上端,此时打开锁扣12,放下活动门11,并调节驱动轴6的转动方向使所有的驱动轴6同向转动,将特大块的土壤块体从活动门11排出,完成整个操作过程。该装置避免了原有的人工完成大块土壤块体的破碎工作,实现了土壤块体的自动化操作,解决了大块的或者特大快的土壤块体堵塞下层下料斗体3,保证正常的下料速度,提高整个土壤场地的修复效率。
  如图1所示,图中M表示该装置在进行大块土壤破碎、搅拌、筛分时,驱动轴6的运转方向;图中N表示该装置在进行特大块土壤排除时,驱动轴6的运转方向。

30

装备制造经验

立即免费获取土壤修复方案

为用户提供及时、高效、便捷的服务

在线咨询
PA视讯官方集团环境希望与你携手,共创美好未来...
5