PA视讯官方集团

公司动态

了解最新公司动态及行业资讯

土壤破碎机的组合式轴承座结构

2017-10-10 01:52:40 350 编辑:admin 来源:本站
    现有的土壤破碎机的组合式轴承座,虽然能够对轴承座具有一定的冷却功能,但冷却效果差,如中国专利CN201620866659.X-种用于土壤破碎机的组合式轴承座,冷却液通过热涨冷缩的方式进行循环冷却,冷却液流动性较差,而且不具有自动控制冷却的功能,同时不便于添加润滑油。
    本发明的目的在于提供一种用于土壤破碎机的组合式轴承座,以解决上述背景技术中提出的问题。
    1、技术方案:
    一种用于土壤破碎机的组合式轴承座,包括底座、第一轴承座、第二轴承座、冷却池和储油漏斗,所述底座上侧固定设置有第一轴承座,所述第一轴承座两端上侧通过螺栓连接有第二轴承座,所述第一轴承座和第二轴承座内部设置有轴承槽,所述轴承槽内卡接有轴承,所述第一轴承座和第二轴承座内部设置有冷却腔,所述冷却池底部和上端分别设置有进液管和出液管,所述进液管和出液管另一端分别于冷却腔连接。
    优选的,所述进液管上安装有循环阀和循环泵,所述冷却池设置有控制器,所述冷却腔侧壁设置有温度传感器,所述冷却池和冷却腔内均设置有冷却液,所述循环阀和循环泵均与温度传感器电性连接。
    优选的,所述轴承包括外圈、内圈和不锈钢滚珠,所述外圈和内圈之间设置有不锈钢滚珠,所述外圈上设置有通孔。
    优选的.所述通孔一侧密封连接有进油管,所述进油管上端连接有储油漏斗,所述储油漏斗内设置有润滑油,所述进油管上安装有出油阀。
    优选的,所述第一轴承座和第二轴承座之间设置有密封橡胶垫。
    2、有益效果是:
    此一种用于土壤破碎机的组合式轴承座,通过冷却腔侧壁设置有温度传感器,能够感知冷却腔内冷却液的温度,当温度升到警戒值时,控制器控制打开循环阀和循环泵使冷却液循环流动进行冷却,从而实现自动冷却的功能,通过通孔一侧密封连接有进油管,进油管上端连接有储油漏斗,便于对轴承添加润滑油,通过第一轴承座和第二轴承座之间设置有密封橡胶垫,增加了冷却腔循环流动冷却的密封性。
    3、附图说明
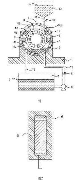
  土壤破碎机的组合式轴承座结构示意图
    图l为土壤破碎机的组合式轴承座结构示意图;
    图2为本发明第一轴承座和第二轴承座侧视图。
    图中:1-底座;2-第一轴承座;21-密封橡胶垫;3-第二轴承座;31-轴承槽;4-螺栓;5-轴承;51-外圈;511-通孑L; 52-内圈;53-不锈钢滚珠;6-冷却腔;61-冷却液;62-温度传感器;7-冷却池;71-出液管;72-进液管;73-循环泵;74-循环阀;8-储油漏斗;81-进油管;82-出油阀;83-润滑油;9-控制器。

30

装备制造经验

立即免费获取土壤修复方案

为用户提供及时、高效、便捷的服务

在线咨询
PA视讯官方集团环境希望与你携手,共创美好未来...
5